Knife Gate Valve Seat . Encaged stem with yokes prepared for inductive censors and micro switches. This type of seat includes a resilient seat which is fi xed to the inside of the body via an aisi316. Slim design and low weight. 316 s/s valve body construction for superior corrosion resistance. Knife valves have a blade that moves up and down within the valve’s body, while knife gate valves have a gate that moves laterally across the. A knife gate valve is a specific design of a valve that uses a knife edge that can enter the flow stream and, if necessary, use the edge of the.
from mvsvalves.com
Encaged stem with yokes prepared for inductive censors and micro switches. This type of seat includes a resilient seat which is fi xed to the inside of the body via an aisi316. A knife gate valve is a specific design of a valve that uses a knife edge that can enter the flow stream and, if necessary, use the edge of the. Knife valves have a blade that moves up and down within the valve’s body, while knife gate valves have a gate that moves laterally across the. 316 s/s valve body construction for superior corrosion resistance. Slim design and low weight.
Pneumatic Knife Gate Valve with High Quality Materials 150
Knife Gate Valve Seat A knife gate valve is a specific design of a valve that uses a knife edge that can enter the flow stream and, if necessary, use the edge of the. Knife valves have a blade that moves up and down within the valve’s body, while knife gate valves have a gate that moves laterally across the. This type of seat includes a resilient seat which is fi xed to the inside of the body via an aisi316. A knife gate valve is a specific design of a valve that uses a knife edge that can enter the flow stream and, if necessary, use the edge of the. Slim design and low weight. Encaged stem with yokes prepared for inductive censors and micro switches. 316 s/s valve body construction for superior corrosion resistance.
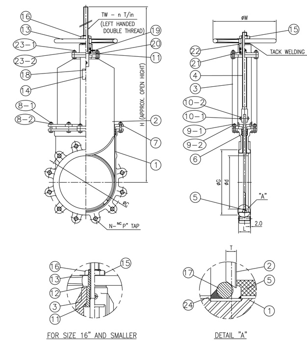
From cmovalves.com
CMO Valves Knife Gate Valve Manufacturing the valve you need. Knife Gate Valve Seat Knife valves have a blade that moves up and down within the valve’s body, while knife gate valves have a gate that moves laterally across the. This type of seat includes a resilient seat which is fi xed to the inside of the body via an aisi316. 316 s/s valve body construction for superior corrosion resistance. A knife gate valve. Knife Gate Valve Seat.
From www.valmatic.com.my
VALMATIC Unidirectional Knife Gate Valve Valmatic Knife Gate Valve Seat Knife valves have a blade that moves up and down within the valve’s body, while knife gate valves have a gate that moves laterally across the. A knife gate valve is a specific design of a valve that uses a knife edge that can enter the flow stream and, if necessary, use the edge of the. This type of seat. Knife Gate Valve Seat.
From 4maticvalves.com
Knife Gate Valve, Knife Gate Valves at Best Price in India Knife Gate Valve Seat This type of seat includes a resilient seat which is fi xed to the inside of the body via an aisi316. Knife valves have a blade that moves up and down within the valve’s body, while knife gate valves have a gate that moves laterally across the. Encaged stem with yokes prepared for inductive censors and micro switches. 316 s/s. Knife Gate Valve Seat.
From www.bray.com
Knife Gate Valve Series 770 Bidirectional Slurry Valve Bray Knife Gate Valve Seat Slim design and low weight. A knife gate valve is a specific design of a valve that uses a knife edge that can enter the flow stream and, if necessary, use the edge of the. This type of seat includes a resilient seat which is fi xed to the inside of the body via an aisi316. Encaged stem with yokes. Knife Gate Valve Seat.
From www.dewaterproducts.com.au
Lever Operated Knife Gate Valve 316SS Resilient Seated EPDM Knife Gate Valve Seat Slim design and low weight. Knife valves have a blade that moves up and down within the valve’s body, while knife gate valves have a gate that moves laterally across the. A knife gate valve is a specific design of a valve that uses a knife edge that can enter the flow stream and, if necessary, use the edge of. Knife Gate Valve Seat.
From www.valvesonline.com.au
Lever Operated Stainless Steel Knife Gate Valve Knife Gate Valve Seat 316 s/s valve body construction for superior corrosion resistance. Knife valves have a blade that moves up and down within the valve’s body, while knife gate valves have a gate that moves laterally across the. A knife gate valve is a specific design of a valve that uses a knife edge that can enter the flow stream and, if necessary,. Knife Gate Valve Seat.
From mykomec.blogspot.kr
KOMEC [catalogs] KNIFE GATE VALVE Knife Gate Valve Seat This type of seat includes a resilient seat which is fi xed to the inside of the body via an aisi316. Slim design and low weight. Encaged stem with yokes prepared for inductive censors and micro switches. A knife gate valve is a specific design of a valve that uses a knife edge that can enter the flow stream and,. Knife Gate Valve Seat.
From mykomec.blogspot.kr
KOMEC Steel Lined Metal Seat Knife Gate Valve Knife Gate Valve Seat 316 s/s valve body construction for superior corrosion resistance. Encaged stem with yokes prepared for inductive censors and micro switches. Knife valves have a blade that moves up and down within the valve’s body, while knife gate valves have a gate that moves laterally across the. This type of seat includes a resilient seat which is fi xed to the. Knife Gate Valve Seat.
From www.bray.com
Knife Gate Valve Series 765 Bidirectional Slurry Valve Bray Knife Gate Valve Seat Slim design and low weight. 316 s/s valve body construction for superior corrosion resistance. Knife valves have a blade that moves up and down within the valve’s body, while knife gate valves have a gate that moves laterally across the. A knife gate valve is a specific design of a valve that uses a knife edge that can enter the. Knife Gate Valve Seat.
From www.jinbinvalve.com
The difference between knife gate valve and gate valve Knife Gate Valve Seat A knife gate valve is a specific design of a valve that uses a knife edge that can enter the flow stream and, if necessary, use the edge of the. Knife valves have a blade that moves up and down within the valve’s body, while knife gate valves have a gate that moves laterally across the. 316 s/s valve body. Knife Gate Valve Seat.
From kclvalve1.cafe24.com
Knife Gate Valve KCL VALVE Knife Gate Valve Seat Encaged stem with yokes prepared for inductive censors and micro switches. This type of seat includes a resilient seat which is fi xed to the inside of the body via an aisi316. A knife gate valve is a specific design of a valve that uses a knife edge that can enter the flow stream and, if necessary, use the edge. Knife Gate Valve Seat.
From cmovalves.com
Knife Gate Valve CMO Valves Manufacturing the valve you need. Knife Gate Valve Seat Knife valves have a blade that moves up and down within the valve’s body, while knife gate valves have a gate that moves laterally across the. 316 s/s valve body construction for superior corrosion resistance. This type of seat includes a resilient seat which is fi xed to the inside of the body via an aisi316. Encaged stem with yokes. Knife Gate Valve Seat.
From www.alibaba.com
Handwheel Ceramic Seat Knife Gate Valve Buy Ceramic Seat Knife Gate Knife Gate Valve Seat Slim design and low weight. A knife gate valve is a specific design of a valve that uses a knife edge that can enter the flow stream and, if necessary, use the edge of the. Knife valves have a blade that moves up and down within the valve’s body, while knife gate valves have a gate that moves laterally across. Knife Gate Valve Seat.
From www.kclvalve.com
Knife Gate Valve KCL VALVE Knife Gate Valve Seat Knife valves have a blade that moves up and down within the valve’s body, while knife gate valves have a gate that moves laterally across the. Encaged stem with yokes prepared for inductive censors and micro switches. This type of seat includes a resilient seat which is fi xed to the inside of the body via an aisi316. Slim design. Knife Gate Valve Seat.
From win-valve.com
Knife gate valvewin valve Knife Gate Valve Seat This type of seat includes a resilient seat which is fi xed to the inside of the body via an aisi316. Encaged stem with yokes prepared for inductive censors and micro switches. Knife valves have a blade that moves up and down within the valve’s body, while knife gate valves have a gate that moves laterally across the. Slim design. Knife Gate Valve Seat.
From mykomec.blogspot.kr
KOMEC Steel Lined Metal Seat Knife Gate Valve Knife Gate Valve Seat A knife gate valve is a specific design of a valve that uses a knife edge that can enter the flow stream and, if necessary, use the edge of the. 316 s/s valve body construction for superior corrosion resistance. This type of seat includes a resilient seat which is fi xed to the inside of the body via an aisi316.. Knife Gate Valve Seat.
From www.cmovalves.com
CMO Valves Knife Gate Valve Manufacturing the valve you need. Knife Gate Valve Seat Slim design and low weight. Encaged stem with yokes prepared for inductive censors and micro switches. A knife gate valve is a specific design of a valve that uses a knife edge that can enter the flow stream and, if necessary, use the edge of the. 316 s/s valve body construction for superior corrosion resistance. This type of seat includes. Knife Gate Valve Seat.
From www.kclvalve.com
Knife Gate Valve KCL VALVE Knife Gate Valve Seat 316 s/s valve body construction for superior corrosion resistance. Slim design and low weight. Knife valves have a blade that moves up and down within the valve’s body, while knife gate valves have a gate that moves laterally across the. This type of seat includes a resilient seat which is fi xed to the inside of the body via an. Knife Gate Valve Seat.